Easy Security Improvements
October 2022
download the PDF

 

Introduction
This is an overview of quick and easy home security upgrades for windows and doors. This focus mainly on existing homes; and is not a comprehensive list of items for new construction; though some information will be relevant. This covers a lot of information, some of it will be in broad strokes. Lots of areas could be expanded on, however the goal is to keep this brief and still be able to make some specific, easy recommendations.

Break-ins or theft
Criminals often enter through doors or easy points of entry. Don't be an easy target. If other places or homes appear to be an easier target, thieves may go there. Crime is often an matter of opportunity, so don't leave any opportunities for a criminal to take advantage of.


_Lock your doors and windows. Don't open doors to strangers ever, even if you have a security chain or swing bar which lets you open the door a few inches. These devices can be easily forced open, often giving a false sense of security. These are frequently defeated by not being well secured to the door or the frame. If you're holding the door shut, you could be overpowered or overwhelmed by a stronger or multiple opponents
See figures 1 + 2

_Use an upper story window, intercom, video doorbell, or just talk loudly through the door to speak to strangers. Nowadays, due to covid, its not weird to not open your door to delivery people, even if you are expecting them

_Install a peephole so you can see outside without opening the door. These are economical and easy to install. You can get a digital peephole with a small view screen for a larger image
See figure 3

_Don't leave unattended easily accessible windows open. Only open the window a small amount to allow airflow, but prevent access. Fixed stops are best if you want to leave a window open, but a wood block that has been secured to prevent it from falling out could also be used
See figure 4

_Don't leave things outside that can be used to break in. Ladders that could reach an upper floor. Tools or cleaning items. Anything that can be used to break a window or as an impromptu weapon.

Door security chain supplied with short screws
Figure 1
Door security chain. Notice the screws supplied are too short to provide secure attachment
Door security swing bar

Figure 2
Swing bar

Door digital peep hole with display screen showing  theif outside
Figure 3
Peep hole with digital display

 

Entry points
_Door entry. Doors are easily kicked in, either the frame or screws can fail. We will review a few options for remediation later
_Window entry. Yes, glass can be broken. I would rather force a criminal to break glass than allow an easier entry. Breaking glass will be noisy, and may be visually obvious to passersby; both of which criminals may want to avoid. If you are in a bad area you can get window bars, just remember that the window could also be your way out in case of a fire
_The sad truth is, no amount of planning can prevent a determined break in


Doors
There are three possible weak points in a door opening, we'll review each in more detiail
_The door itself or its design
_Connection to the building
_The hardware set


The doors itself
_Needs to fit the opening properly and be sturdy
_Usually a solid core wood doors will be sufficient
_Hollow metal doors are good. These do come in varying grades. The Steel Door Institute maintains a list on their webpage about recommended door "duty" per location or use. Standard duty, heavy duty, extra heavy duty, maximum duty.
_Hollow core wood doors should not be use where security is required
_Any door that is: old, warped, rotting, rusting, or ill-fitting should be replaced
_Glass doors should be avoided where possible in security situations
_Windows, if required, should be small and placed to preventing reaching though and opening the door from the inside if they are broken. Peep holes are a better option. There are digital or display screen peepholes for a larger view
See figure 3

_Door configurations that may have security issues: Double doors, french doors, screen doors, glass doors, storm doors, and any configuration were glass is adjacent to the lever
See figure 5
_Storm door do not provide much security, if any; no matter what they claim
_Do not have sidelights next to your door if possible. Especially on the door knob side. They are easy to break and reach through to open the door. If you have sidelights you can remove them or cover them. Adding wire, or clear polycarbonate will maintain visibility. Use polycarbonate (trade named Lexan) not acrylic. Acrylic is more brittle and more easily shattered and broken than polycarbonate.


Window with sash stop screw
Figure 4
Sash stop. This will stop the window from opening more than a few inches
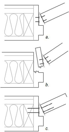
Drawings of doors with glass lites or sidelites showing security problems with too much glazing
Figure 5
Doors a. & b. have too much glass. Door c. is more secure with only a small window not adjacent to the lever. Door d. is most secure with no glass which can be broken
Door hinge with supplied screws that are too short
Figure 6
Screws that are supplied with the hinge are too short to secure it to the building framin
g

 

 


Connection to the building
Sometimes it's the door frame or screws that fail. This is not a failure of a major components, but the smaller parts that hold everything together. Unfortunately the results are just as devastating.


_Screws are often too short. The problem is packaging and price. Hinges and latches usually come with screws, typically ½" long or less, which is way too short. Manufacturers do this to make their products look more cost effective in the store, including good screws means increasing the price. Contractors aren't going to install longer screws that they have to buy separately when door hardware already comes with screws.

Screws which are too short don't connect to the wall framing. They only connect to the thin door trim which is flimsy. Door trim, which is thin 1x wood framing will easily brake when kicked in. Sure the screws may still be connected to the trim, but that does little good when the door frame is shattered in pieces on the ground. Replacing screws on the door hardware is one of the first things I would do when I move into a new apartment. This is the easiest and most effective change to make. $5 in screws and 20 minutes of your time can make a big difference here. What items need screws to be checked or replaced? Latch plates, hinges, and other surface bolts and accessories. Basically anything that secures the door to the door frame.
See figures 6 +7


_Use security screws at exterior items. Don't just use a regular philips or flat head screw if it will be exposed outside. It may seem like a small thing but everything you do that makes it more difficult for criminals helps to provide protection.


_Strike plate covers are great at helping prevent someone from prying open the door. They prevent access to the latch mechanism, and prevent the door frame from being broken near the knob to open the door while it is still latched. These can either be store bought, or custom made. I have a 3/16" steel plate fastened with security screws which is painted to match the door hardware installed on my apartment front door.
See figure 8


_Add a separate dead bolt from the door knob or lever. This would mean there are now two points a thief would have to defeat to gain entry. Deadbolts are harder to defeat than the regular door latch; which is easier to pry or force open. Its not just another security point, it is a stronger security point. Do not use thumb turn deadbolts, instead key both sides if its near glass. I had to do this in one apartment; this means you must have a key to get out. We hung a spare key on a hook that was out of sight and out of reach, but only 4 ft from the door, so it would always be there if we needed it.


_Surface bolts are a device installed on the inside of the door, separate from the latch mechanism. These are a cheap and easy addition. Typically more secure than a door chain. You can add one or multiple surface bolts. In this case, bigger is usually better. Sure adding a small or slim one may help, but a bigger one, the thickness of a marker or your finger, will provide improved security. Make sure they are properly secured with long screws. You usually can't see these from the outside, so a potential intruder would not know they exist. The downside is they only work when you or your family are inside to throw the surface bolt. This doesn't worry me that much; my concern is the safety of my family, not my stuff. If someone steals my TV while I'm gone, I'll get another TV.
See figure 9

Drawing showing how long secrew are required to attach door hinges; illustrating the danger of forced entry by breaking the door frame with short screws
Figure 7

a. Short screws only connect to the finished 1x trim

b.The 1x door trim is easily
broken, defeating the door lock

c. Long screws connect to the 2x4 structural framing and secure the door
Drawing of a door strike plate secruty cover
Figure 8
Strike plate cover
Photo of door hardware component; surface bolt with receiver plates
Figure 9
Surface bolt with receiver plates

_Door security bars or barricade bars may not look fancy but they do the job. I Don't recommend floor brace type as they may slip, frame or wall connected types are more secure. It is possible to use these on both inswing and outswing doors. Either homemade or store bought versions can be effective. Just using a 2x4 or a steel pipe works fine. You can use a drop in, or slide in place type. Just make sure the bar will stay in place if someone is really trying to force the door.
See figure 10

_Metal door frames. It is very difficult to bend a metal door frame. Kicking the door will not break a metal door frame, as opposed to wood frames which can be more easily broken.

_Door swing will affect security. Out swing doors are harder to kick in than in swing doors. The soffit on the door frame is naturally behind the door preventing it from being kicked in. Especially true with metal door frames. There is also less or no surrounding frame available for a thief to tamper with as in an in swing door. However out swing doors do have security issues
See figure 11

_Outswing hinge security pins. If the door is an outswing door, this means the hinge pin will be on the outside. This will require special hinges. The danger is someone can just remove the hinge pins then take the door off the hinges basically ignoring the lock. Security hinges have a little screw, accessed from the interior only, that helps prevent the hinge pins from being removed
See figure 12

_Lift off security hinges or dowels. Lift off prevention hinges have have a peg on one side and a hole on the other, this prevents the door from being lifted, even without the hinge pin installed. The DIY version for wood doors is to drive two or three, evenly spaced, heavy nails into the door frame on the hinge side. Leave them sticking out an inch or so, this would prevent the door from closing. You then drill into the hinge side of the door as required to let the door shut. Now if the hinge pins are removed, the nails you added will prevent the door from being lifted out of place.
They also make door hinge security pins, as an aftermarket DIY fix. I would avoid these and just use the nail method. These would replace two of the screws securing the hinge. On one hand is solves the lift off problem, on the other you've just removed two screws holding the hinge in place. This creates one problem while fixing another.
See figures 13 + 14


Hardware sets
_Door lever latch sets are graded to describe security. Grade 1 is best. Grade 2 is ok. Grade 3 is the lowest graded. Non-graded is lower than any grade. If it doesn't list the grade, its not graded. At big box stores it may be hard to find locksets that are grades 1 or 2. When you start to pay attention a lot of items are grade 3. If you are going to be selective on appearance, you may have to order it online. For entry hardware, this is either your front door or your door to your apartment, I recommend grade 1 hardware. Yes, its more expensive; really this is the point in your home when security matters. Depending on your layout you may have one to three exterior doors, you can use lesser grades on the interior. Interior hardware is not usually as much of a security issue; unless you're trying to compartmentalize. Ex: separating a basement or garage from the main house.

You may be able to go from an existing grade 3 to a grade 2 by just changing out the hardware in the same diameter door knob opening. I did this myself, it was about $50-$60 for a new grade 2 lever. To go to grade 1, would have required me to enlarge the cylindrical hole in the door to fit a security shroud around the mechanism to help prevent it from being pried open. If you are handy, changing out a door knob should be possible, there are plenty of youtube instruction videos for step by step.

Both latch sets and deadbolts are graded this way. If you have two different holes drilled in the door, you can mix and match. Ex: a grade 2 lever latch set and a grade 1 deadbolt


_Mortise locks. Some people may not be familiar with mortise locks as cylindrical locks are more common. Typically mortise locks are better than cylindrical locks. This is because more of the hardware is secured inside the door and its harder to tamper with. This also makes it more expensive to install as the door itself needs more work to accommodate this lock. You can not change from a cylindrical lock to a mortise lock without replacing the door. In combination with a separate dead bolt, a mortise lock will provide a better than average measure of security.
See figures 15 + 16

Elevation drawing of a door with a barricade security bar
Figure 10
Door barricade bar
Plan drawings of inswing and outswing doors showing the location of the door frame soffit

Figure 11
An outswing door is more difficult to kick in, as the soffit is on the inside of the door

Photo of a door security hinge pointing out the security hinge pin
Figure 12
Hinge security pin. The threaded screw can only be removed from the inside of the door
Drawing of a door lift off prevention peg securiy device
Figure 13
Lift off prevention peg
Photo of lift of prevention hinges, showing how the pins interface with the holes to prevent break ins
Figure 14
Lift off prevention hinges.
The pin on one side will fit into the hole on the other, preventing the door from being lifted, even if the hinge pin is removed

_Multipoint locks. These have multiple bolts or latches that secure the door. These come in different configurations and mounting. They do make surface mounted multipoint locks, these will be unsightly. I have seen some in NYC apartments.
Concealed multipoint locks will require a new door. These do provide some pretty serious security. These do cost a lot compared to regular cylindrical locks. However the cost of a new door and hardware is low compared to your home and the potential losses or damage due to theft; not to mention your piece of mind.
See figures 17 + 18


Windows
_Design new opening high above grade, or keep lower windows small
_Don't have items easily visible through you windows from the street. Use shades or blinds. Don't leave anything tempting in plain sight
_Wood blocking can be used to prevent a single hung or sliding window from being opened or opened further than you want
_Window surface bolt or fixed stop to prevent the window from being opened more than a set amount
See figure 4

_Contact alarms and glass break alarms are available in both hardwired and as aftermarket add-ons. Glass break sensors can be tricky. I recommend hardwired glass break sensors from a security company if you want fully utilize these. However an aftermarket item, if its visible, may act partially as a deterrent.
_Plant hedges or other obstructions in front of the window which would discourage entry. This would mean keeping and maintaining a dense or prickly hedge row that you can not get around, not one or two scattered shrubs.
See figure 23

Lighting
_While increased light levels in public spaces have not been shown to increase security (ex: bright does not necessarily mean safe), dark places for people to hide or operate unseen are not usually a good idea. If a door is kicked in, or a window is broken at night; will anyone on the street be able to see it, or can unsavory activities go unnoticed? If you look out from another window, can you see if someone is there while staying safely inside?

Cameras or active security
_Visible cameras may, or may not be a deterrent
_Wired cameras still seem to be the best option if you want continuous monitoring
_Wireless or wifi cameras. These are becoming more prevalent and better quality
Blink is currently my favorite (2021). I used to like Wyze, but they started to charge a monthly fee. There are, and will be more options and improvements in wireless security.
_Fake cameras. Yes, sometimes fake can be as good a real. Just make sure it looks good. Often I employ a combination, installing some real cameras with additional fake cameras so it seems like there is more coverage than there is, yet the important points will have real video coverage.

Easy retro fit example products
_Yes, hardwired alarms or lights may work best, but were focusing on easy retrofit solutions. If you have the time, money, or skill; you may be better off hardwiring an item and not worrying about it. Battery or wireless devices are often better if you rent rather than own, and are usually cheaper to install, though you need to remember to check the batteries.
_Battery powered door contact alarms. These are cheap, easy, and make a fair bit of noise when they sound. I think they would wake me up and my neighbors in the adjacent apartments. The down side is you have to remember to turn them on and off individually.
I recommend using better double stick tape than they come with or getting a type that can be secured with screws.
See figure 19
_Battery powered motion alarms. I have one on my front porch, it was really meant to be store entry chime to let the store clerk know that a customer walked in. It sounds every time a delivery person steps onto the porch if they ring the doorbell or not. This is great situational awareness, which is always important for safety
See figure 20

Photo of a cylindrical lock with levers
Figure 15
Cylindrical lock. This is a typical lever latch set
Photo of a mortise lock shown without the door
Figure 16
Mortise lock
Photo of a multi-point mortise lock shown without the door; multi pin
Figure 17
Multi-point mortise lock
Photo of a multi-point mortise lock shown without the door; top and bottom frame connections
Figure 18
Multi-point mortise lock. This type connects to the top and bottom of the frame as well as at the typical latch location

_Driveway alarms mount on a post at the end of your driveway, and will let you know when someone drives onto your property
_Battery powered motion lights. I have one of these right on a door that is under a canopy where a solar powered light would not work. It's fine to help you find your keys and get in the door. It does not provide enough light to illuminate your yard or a large area. It will work fine for 6-9 months on four D batteries before it starts to dim.
_Solar powered motion lights. I have had great success with these. They are cheap and easy to install. If you need more light, put up another one. My only complaint is the quality of some units. Every year I lose one or two out of the 18 I have installed. Next years model never seems to look quite the same as the one that broke, so they are all slightly different.
See figure 21


Locations and configuration in new design
_Keep doors or low windows visible; either from street, other properties. This way thieves do not feel they can operate unseen. A large hedge row or fence at the street may offer privacy, but it would also conceal nefarious activity. Trim or remove large shrubs or landscaping that may be used for concealment. Do use prickly or dense shrubbery below ground floor windows to prevent immediate access.
See figures 22 + 23
_Have a vestibule or mud room with another lockable door. What is more secure than a properly locked front door? Two locked doors in a row. You can also improve internal separation doors; the door from the basement to the house or the garage to the house.


Conclusion
While some security issues are best handled during design, there are plenty of small things that can be done to help improve home security. Whatever time you can spare, whether it is 30 minutes or a weekend there are some tasks that can help improve your home security. In home security every little bit helps. Sometimes you don't have to have the best, your house just needs to look like a less appealing target than the next place.

Battery powered after market door contact alarm
Figure 19
Aftermarket door contact with alarm
Motion sensor for an alarm system
Figure 20
Motion sensor
Solar powered exterior LED light
Figure 21
Solar powered light
 
House with privacy hedges which may be a security problem
Figure 22
Hedges provide privacy, but may also be a security problem
Qualifications:
Chris Duff Dufresne RA
Bachelors of Science in Building Science, Bachelors of Architecture from Rensselaer Polytechnic Institute
Registered architect with more than twenty years of experience
Offset Condition Architecture and Design
www.offsetcondition.com
A house with prickly hedges below the windows which help prevent break-ins via the windows
Figure 23
Hedges prevent access to any of the windows from the outside